John Madey | |
|---|---|
| Born | February 28, 1943 Elizabeth, New Jersey, U.S. |
| Died | July 5, 2016 (aged 73) Honolulu, Hawaii, U.S. |
| Nationality | American |
| Citizenship | U.S. |
| Alma mater | California Institute of Technology Stanford University |
| Known for | Free-electron laser |
| Awards | Stuart Ballantine Medal(1989) Robert R. Wilson Prize for Achievement in the Physics of Particle Accelerators (2012) Willis Lamb Award (2016) |
| Scientific career | |
| Fields | Physics |
| Institutions | Stanford University Duke University University of Hawaiʻi at Mānoa |
| Signature | |
![]() | |
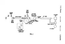
John M. J. Madey (28 February 1943[1] - 5 July 2016[2]) was a professor of Physics at the University of Hawaiʻi at Mānoa, a former director of the Free Electron Laser Laboratory at Duke University, and formerly a professor (research) at Stanford University. He is best known for his development of the free-electron laser (FEL) at Stanford University in the 1970s.[3][4]
Raised in Clark, New Jersey, Madey and his older brother Jules took an early interest in ham radio. In 1956, when John was 13 and Jules was 16, they began relaying communications from the south pole to families and friends in the United States.[5] While an undergraduate at the California Institute of Technology, he had a discussion where the question came up as to whether or not it was possible to enhance the transition rate for bremsstrahlung through stimulated emission.[6] Madey received a BS degree in Physics and a MS degree in Quantum Electronics from the California Institute of Technology in 1964 and 1965. He continued thinking about the stimulated emission question while working on his doctoral degree at Stanford, when he invented the free-electron laser. He was awarded a PhD in 1970, and appointed as Professor (Research) of Electrical Engineering in 1986.[7]

Stanford University refused to patent this idea so Madey filed for a patent on his own. In the following years, he developed an innovative laser research program which was highly regarded in the scientific community. An opportunity arose for Madey to leave Stanford, taking a tenured position at the Physics Department of Duke University, which Madey accepted in 1988, moving his FEL research laboratory with him in 1989. This laboratory contained substantial equipment which required Duke to build an addition to its physics building to house the lab. In addition, while at Stanford, Madey had obtained sole ownership of two patents practiced by some of the equipment in the FEL lab.
Patent litigation
At Duke, Madey served for almost a decade as director of the FEL lab. During that time the lab continued to achieve success both in securing research funding and in generating scientific breakthroughs. A dispute arose, however, between Madey and Duke. Duke contends that, despite his scientific prowess, Madey had ineffectively managed the lab, resulting in a negative external review of the science and management in his lab.[8] Madey contends that Duke sought to use the lab’s equipment for research areas outside the allocated scope of certain government funding, and that when he objected, Duke sought to remove him as lab director. Duke eventually removed Madey as director of the lab in 1997. The removal is not at issue in this appeal, however, it is the genesis of a unique patent infringement case. As a result of his removal from the directorship, Madey resigned from Duke in 1998. Duke, however, continued to operate some of the equipment in the lab. Madey then sued Duke for patent infringement of his two patents, and brought a variety of other claims.[9]
Initially, Madey suffered judicial setback, but later appeals courts found in his favor and made a historic judgment in his favor. In Madey v. Duke University, 307 F.3d 1351, 1362 (Fed. Cir. 2002)], the Federal Circuit Court of Appeals on October 3, 2002 effectively ended a 170-year-old practice of allowing scientists to freely borrow patented technologies for limited use in basic research that is not aimed at commercial use.[10][11]
Awards
Madey was awarded the Stuart Ballantine Medal from The Franklin Institute in 1989.
Madey received the 2012 Robert R. Wilson Prize for Achievement in the Physics of Particle Accelerators, from the American Physical Society "For the invention and first experimental demonstration of the free electron laser and important contributions to its conceptual development."[12]
Madey was awarded the Willis E. Lamb Award for Laser Science and Quantum Optics in 2016.[13]
References
- ↑ "John Michael Julius Madey". PHYSICS TODAY. 1 January 2017. Retrieved 19 July 2019.
- ↑ "In Memoriam: Physicist and inventor John Madey". University of Hawaiʻi at Mānoa. 20 July 2016. Retrieved 18 September 2016.
- ↑ New Light: What is free electron laser, Isamu Sato, International Symposium of Maxillofacial and Oral regenerative biology in Okayama (2003)
- ↑ Madey, J. M. J. (1971). "Stimulated Emission of Bremsstrahlung in a Periodic Magnetic Field". Journal of Applied Physics. 42 (5): 1906–1913. Bibcode:1971JAP....42.1906M. doi:10.1063/1.1660466.
- ↑ Elaine Hood. "United States Antarctic Program". United States Government. Retrieved 2013-10-28.
- ↑ "Advancing the Laser" (PDF). SPIE. Retrieved 2013-10-28.
- ↑ "Physicist John Madey to be awarded the Robert R. Wilson Prize in 2012". University of Hawaii at Mānoa. November 2, 2011. Retrieved 2013-10-28.
- ↑ Richard Rubin (May 20, 1999). "University hires new director for free electron laser lab". The Chronicle. Duke University. Archived from the original on October 29, 2013. Retrieved 2013-10-24.
- ↑ Madey v. Duke University, 307 F.3d 1351 (Court of Appeals, Federal Circuit 2002) ("Duke has conceded that at least some of its uses of Plaintiff's patents "unmistakably further its legitimate business objectives, including educating and enlightening students and faculty participating in these projects."").
- ↑ Malakoff, D. (2003). "INTELLECTUAL PROPERTY: Universities Ask Supreme Court to Reverse Patent Ruling". Science. 299 (5603): 26a–27. doi:10.1126/science.299.5603.26a.
- ↑ Jennifer Miller (2003). "Sealing the Coffin on the Experimental Use Exception". Duke Law and Technology Review. Duke School of Law, Duke University. 2 (1). Retrieved 2013-10-24.
- ↑ "2012 Robert R. Wilson Prize for Achievement in the Physics of Particle Accelerators Recipient". American Physical Society. Retrieved 2013-10-28.
- ↑ Willis E. Lamb Award
.jpg.webp)